产品中心
首页 > 产品中心 > 直流充电桩防雷器AM40B
详细介绍
直流充电桩防雷器
型号:AM40B

适用范围
该产品主要应用于交流供配电系统的雷电浪涌过电压防护,安装于配电箱、柜内,防止用电设备因浪涌侵入而损坏。 
性能特点
◆ 通流容量大,残压低, 响应时间快。
◆ 漏电流及变化率小。
◆ 采用最新热脱离技术,彻底避免火灾。
◆ 采用特殊冲击熔片,具有高可靠性。
◆ 采用温控保护电路,内置热保护,短路故障自动脱离装置。
◆ 采用标准模块化设计, 安装简单,维护方便。
◆ 核心元件采用国际知名品牌,性能优异,工作稳定可靠。
◆ 可以实现凯文接线;结构严谨,安装方便,维护简单。
◆ 工艺考究,能在酸、碱、尘、盐雾及潮湿等恶劣环境下长期工作。


技术参数
型号 AM40B(交流侧) AM40-1000(直流侧)
标称工作电压Un 380V  
最大持续工作电压Uc 385V 1000VDC
标称放电电流(In  8/20μs) 20kA
最大放电电流(Imax  8/20μs) 40kA
保护模式 L1、L2、L3-N,N-PE L、N-PE
保护水平Up 1.2kV(N-PE); 1.8kV(L-N) 3600V
最大后备保护熔断器 63A (gL/gG)
响应时间 ≤25ns
遥信端子(选配) COM公共点  、NO常开 、 NC常闭
外形尺寸 90×62×71(mm) 90×62×35(mm)
最小安装导线截面积 L/N:2.5mm²,PE:6mm²  
防护等级 IP20
安装方式 35 mm DIN-rail
工作环境 环境温度:-40℃~+85℃;  相对湿度:≤95%(25℃)


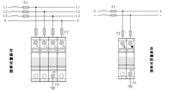
社保电子产品接线图

 
安全注意事项
  当直流充电桩防雷器安装于最终系统时,必须执行标准  GB4943(EN60950,IEC60950)的所有要求。
  设备应当由被授权的专业人员安装。安装时必须断开电源,严禁带电操作,以防发生意外。
  该产品须安装在一个人员不能直接触及的区域。
 接线时,先连接保护地导线,再连接其他导线(L/N);拆线时,最后取下保护地导线。
 禁止在雷雨天进行安装。

使用、维护
● 直流充电桩防雷器无需特别维护。应定期检查其连接是否松动,工作状态指示是否正常 ,特别是在雷雨季节前及整个雷雨期。
● ·当防雷器故障指示窗口片变为白色,则说明防雷模块已失效,必须立即更换。


联系我们
全国统一服务电话: 0755-22310076
24小时热线: 0755-22310076 22310075 22310079
邮箱:shenzhen@sbdz.com
网址:www.sbdz.com
公司总部:深圳市福田区上步北路(体育馆东)城市主场B座1601
版权所有©1995-20020深圳市社保电子技术有限公司。保留所有权利 | Power by DedeCms粤ICP备05003742号
 
QQ在线咨询
售前咨询热线
0755-22310076
售后咨询热线
0755-22310076